নতুন প্রযুক্তি নিয়ে ২০২৫ সালে আসতে পারে অ্যাপলের ফোল্ডিং ফোন

এস এম সোহাগ
এস এম সোহাগ

গতানুগতিক ধারা অনুসরণ বা অনুকরণ না করে নিজেদের পণ্যের স্বকীয়তা এবং নতুনত্বের ছাপ রাখতেই পছন্দ করে অ্যাপল। প্রতিষ্ঠানটির সবচেয়ে জনপ্রিয় পণ্য আইফোন। বিশ্ববাজারে অন্যতম জনপ্রিয় এই মোবাইল এখনো অপ্রতিদ্বন্দ্বী। স্যামসাং যেখানে তার চতুর্থ প্রজন্মের ফোল্ডিং ফোন বাজারে ছেড়েছে। সেখানে ফ্লিপ বা ফোল্ডেবল স্মার্টফোন বাজারে আনার বিষয়ে আনুষ্ঠানিক কোনো ঘোষণা দেয়নি অ্যাপল।
 
অ্যান্ড্রয়েড ফোনের মধ্যে স্যামসাং ও মটোরোলার মতো কোম্পানি কয়েক বছরের আগেই ক্রেতাদের হাতে পৌঁছে দিয়েছে এই ফোল্ডেবল প্রযুক্তি। অ্যাপলের বিষয়ে অনেক গুঞ্জন শোনা গেলেও প্রাতিষ্ঠানিক কোনো ঘোষণা আসেনি। মুক্তির আগে নিজেদের প্রযুক্তি ও পণ্য সম্পর্কে গোপনীয়তা রক্ষার প্রবণতা প্রতিষ্ঠানটির বরাবরই রয়েছে। 

ob43pr6dsrc2njq7vqlags6ioe.jpg
অ্যাপলের সিইও টম কুক। ছবি: সংগৃহীত

ফোল্ডিং আইফোন

গ্যালাক্সি জেড ফোল্ড ২, ৩, ৪ কিংবা গ্যালাক্সি জেড ফ্লিপের মতো পণ্যের মাধ্যমে ফোল্ডিং ফোনকে ইতোমধ্যেই বাজারে পরিচিত করে তুলেছে দক্ষিণ কোরিয়া-ভিত্তিক প্রযুক্তি প্রতিষ্ঠান স্যামসাং। মটোরোলা রেজর রিবুট, হুয়াওয়ের মেট এক্সএস ছাড়াও বর্তমানে বিশ্ববাজারে আরও কিছু ব্রান্ডের ফোল্ডিং ফোন পাওয়া যাচ্ছে। এ অবস্থায় ফোল্ডিং আইফোন বাজারে আনতে হলে পর্যাপ্ত নতুনত্ব নিয়েই হাজির হতে হবে অ্যাপলকে।

নতুনত্বের বিষয়ে আইফোন বরাবর তার চমক ধরে রেখেছে। নতুনত্বের বাইরেও প্রতিষ্ঠানটি প্রতিপক্ষ কোম্পানিগুলোর বিদ্যমান প্রযুক্তির উন্ননের মাধ্যমেও সবাইকে ছাপিয়ে গেছে। যুক্তরাষ্ট্রভিত্তিক গণমাধ্যম ফোর্বসের তথ্যসূত্রে, অ্যান্ড্রয়েডের ফেইস আইডি প্রযুক্তি গ্রহণ করে সেটার রূপান্তর ঘটিয়ে অ্যাপল একে এতটাই জনপ্রিয় করেছে যা এই প্রযুক্তির উদ্ভাবক অ্যান্ড্রয়েড-এর পক্ষে কখনো সম্ভব না। একটু বিলম্বে বাজারে এসে ফোল্ডিং আইফোন যদি স্মার্ট-ফোনের বাজারের গেম চেঞ্জার হয়ে যায়, তাহলে সেটা খুব অস্বাভাবিক কিছু হবে না। 

39602-90154-iphone-fold-xl.jpg

বিজনেস ইনসাইডার-এর একটি তথ্যসূত্রে জানা গেছে, বেশ কয়েক বছর ধরেই ফোল্ডেবল স্ক্রিনের চিন্তা করছে অ্যাপল। ফোল্ডিং আইফোনের জন্যে অ্যাপল বেশকিছু প্রযুক্তি ও নকশার প্যাটেন্ট করেছে বলেও উল্লেখ করা হয়েছে ওই প্রতিবেদনে। 

২০১৯ সালে ফোর্বসে প্রকাশিত এক প্রতিবেদনে বলা হয়, মার্কিন প্যাটেন্ট ও ট্রেডমার্ক কার্যালয়ে ইলেক্ট্রনিক ডিভাইসের জন্য একটি ফোল্ডেবল কাভার ও ডিভাইস ডিসপ্লের প্যাটেন্ট করেছে। একটা ফোল্ডেবল আইফোন মুক্তির আগে প্রতিষ্ঠানটি গবেষণা ও উন্নয়নের পেছনে এত বছর ব্যয় করায় কৌতূহলীদের আগ্রহ আরও বেড়েছে।

নকশা

২০২১ সালে ব্লুমবার্গে প্রকাশিত প্রতিবেদন থেকে জানা যায়, অ্যাপল একটি ফোল্ডেবল আইফোন ডিসপ্লে নিয়ে ইতোমধ্যেই কাজ শুরু করেছে। প্রযুক্তি-নির্ভর বিভিন্ন জনপ্রিয় ম্যাগাজিন সূত্রে জানা গেছে, প্রতিষ্ঠানটি একটি অরিগামি-স্টাইল ফোল্ডিং ডিসপ্লে, একটি ফ্লিপ-আপ ডিসপ্লে এবং এমনকি একটি মোড়ানো ডিসপ্লেসহ বেশ কিছু ফোল্ডেবল ডিসপ্লের প্যাটেন্ট নিয়েছে। 

iphone_z_01.jpg
ছবি: সংগৃহীত

ফোল্ডেবল ডিসপ্লে নিয়ে অ্যাপল অর্ধ-যুগেরও বেশি সময় ধরে পরীক্ষা চালাচ্ছে। বর্তমানের প্রযুক্তির বাইরেও কিছু অপ্রচলিত ধারণাও নিয়ে এসেছে। ফোর্বস সূত্রে জানা গেছে, প্রতিষ্ঠানটি ইতোমধ্যে ডুয়েল ও ট্রিপল ফোল্ডিং নকশা নিয়ে পরীক্ষা চালিয়েছে। অ্যাপল যদি ট্রিপল ফোল্ডিং একটি ফোন বাজারে আনতে পারে, তাহলে সেই ডিভাইসটি হয়ে যেতে পারে গেম চেঞ্জার পণ্য।

forbes.jpg
ছবি: ফোর্বস

অ্যাপল তার এমন গেম চেঞ্জিং ডিভাইসে ঠিক কোন ডিসপ্লে ব্যবহার করবে তা বলা মুশকিল। তবে, বর্তমানের প্রোটোটাইপটিকে ফোল্ড-আউট নকশা হিসেবেই মনে করছে ব্লুমবার্গ। মাইক্রোসফটের সারফেস ডুও'র বাহ্যিক কব্জার পরিবর্তে গ্যালাক্সি ফোল্ডের মতো লুকানো কব্জা প্রক্রিয়াসহ একটি অবিচ্ছিন্ন ডিসপ্লের কথা বিবেচনা করতে পারে অ্যাপল।

ডিসপ্লে

অ্যাপল সম্ভবত একটি ৮ ইঞ্চির কিউএইচডি প্লাস ফ্লেক্সিবল নমনীয় ওলেড (অর্গানিক লাইট-এমিটিং ডায়োড) ডিসপ্লেসহ একটি ফোল্ডেবল আইফোন চালু করতে পারে। ফোল্ডিং ডিভাইসের ক্ষেত্রে ওলেড ডিসপ্লে বেশ কার্যকরী বলে মনে করেন বিশ্লেষকরা।   

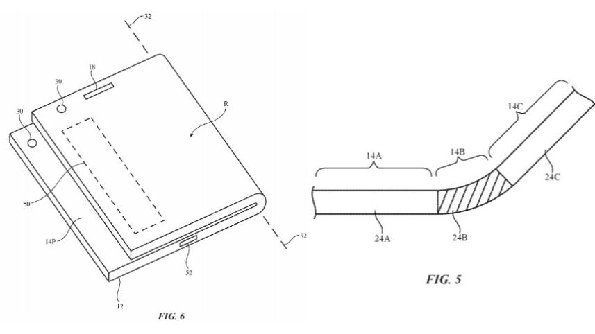
folding-iphone-patent-edited.jpg
প্যাটেন্ট করা নকশা। ছবিসূত্র: সংগৃহীত

অ্যাপল ইতোমধ্যেই স্যামসাং গ্যালাক্সি ফোল্ডের মতো অনুভূমিক ফোল্ড ও স্যামসাং গ্যালাক্সি ফ্লিপের মতো ভার্টিক্যাল ফোল্ডের ডিসপ্লে নিয়ে পরীক্ষা করেছে। নানা মহলের দাবি মতে, অ্যাপল 'ফ্লিপ' শৈলীকেই এগিয়ে রেখেছে। এ ক্ষেত্রে সম্ভবত একটি ক্ল্যামশেল নকশা ব্যবহার করবে এবং রঙের ক্ষেত্রেও এখানে জমকালো রঙ দেখা যেতে পারে।

প্রযুক্তি

অ্যাপল তার প্রতিটা পণ্যের প্রযুক্তিতেই নতুনত্ব আনার চেষ্টা করেছে। আইফোন ফোল্ড বা ফ্লিপের ক্ষেত্রেও তেমনটা আশা করা হচ্ছে। সবার আগে ক্যামেরা পরিবর্তন আসবে বলে মনে করেন বিশ্লেষকরা। সাধারণ স্মার্টফোনে ক্যামেরাকে স্থান দেওয়ার দুটো অংশ আছে। সামনের এবং পেছনের অংশ। কিন্তু ফোল্ডিং ও ফ্লিপ ফোনগুলোতে সামনে, পেছনে, ভেতরে, বাইরেও ক্যামেরা স্থাপনের সুযোগ রয়েছে।

39602-76020-img_4382-xl.jpg
প্যাটেন্ট করা নকশা। ছবিসূত্র: সংগৃহীত

ফেইস আইডির জটিলতার কারণে আইফোন ফোল্ডে দেখা যেতে পারে টাচ আইডি কিংবা উভয় প্রযুক্তি। প্রসেসরের ক্ষেত্রে আইফোনের বিকল্প কেবল অ্যাপলের ডেস্কটপ সিরিজ। প্রসেসর হিসেবে ফোল্ডিং ফোনে এ১৬ বা তার চেয়েও আধুনিক প্রসেসর ব্যবহৃত হবে। ব্যাটারি, চিপ, চার্জিং প্রযুক্তিসহ নানান সুবিধার উন্নয়ন ঘটিয়েই ফোল্ডিং আইফোন বাজারে আসবে।

দাম

কোনো প্রযুক্তি নিয়ে পরীক্ষা করা মাত্রই তার প্যাটেন্ট করে রাখা অ্যাপলের একটা ঐতিহ্যগত চর্চা। ২০১৬ সাল থেকেই প্রতিষ্ঠানটি ফোল্ডেবল প্রযুক্তি নিয়ে প্যাটেন্ট করা শুরু করেছে। প্রযুক্তি ও নকশার উন্নতি ঘটিয়ে বাজারে আসা মাত্রই একটা প্রতিযোগিতা শুরু হয়ে যাবে। 

বর্তমান বাজারের একটি ফোল্ডিং ফোন কিনতে ক্রেতাকে ১ হাজার মার্কিন ডলার থেকে শুরু করে ৩ হাজার ডলার বা তার ও বেশি খরচ করতে হয়। বাংলাদেশি মুদ্রায় যা ১ লাখ থেকে ৩ লাখ বা তারও বেশি হতে পারে। 

তবে, আইফোন তার ফোল্ডিং মডেলের মুক্তি দিলেই বিদ্যমান পণ্যগুলোর বাজারদর কমিয়ে ফেলতে পারে। সেক্ষেত্রে অ্যাপলকে একটা যৌক্তিক দাম নির্ধারণ বিবেচনা করতে হবে, যা ১ হাজার থেকে ১ হাজার ৫০০ ডলার পর্যন্ত হবার সম্ভাবনা রয়েছে। 

মুক্তির সম্ভাব্য সময়

মার্ক গরমানো ২০২১ সালের জানুয়ারিতে ব্লুমবার্গকে বলেন, স্যামসাংয়ের ফোল্ডিং ফোনগুলোর অনুরূপ একটি ফোল্ডেবল স্ক্রিনসহ ফোল্ডেবল আইফোন নিয়ে প্রাথমিক কাজ শুরু করেছে অ্যাপল। আইফোন বিশ্লেষক মিং শি কুও একই বছরের মে মাসে জানান, ২০২৩ সালে মুক্তি পাওয়ার সম্ভাব্যতার বিষয়ে ম্যাকরিউমরসের কাছে মন্তব্য করেছেন।

তার মতে, এমন একটি ডিভাইস আনার জন্যে অ্যাপল এখনো প্রস্তুতি নিচ্ছে। যথেষ্ট আধুনিক প্রযুক্তি, ডিভাইসের জন্যে উপযুক্ত কাঁচামালের সন্ধান, বিশালাকার উৎপাদন ব্যবস্থা নিশ্চিত করার জন্যে প্রতিষ্ঠানটি এই সময় নিচ্ছে। 

তবে, চলতি বছরের এপ্রিলে আগের মন্তব্য থেকে সরে এসে সম্ভাব্য মুক্তির বছর হিসেবে ২০২৫-এর কথা বলে এক টুইট করেন। সেখানে বলেন, ২০২৫ সালের দিকে অ্যাপল তাদের প্রথম ফোল্ডেবল পণ্যের মুক্তি দিতে পারে, যা হতে পারে একটি ফোল্ডেবল আইপ্যাড কিংবা আইফোন ও আইপ্যাডের একটা হাইব্রিড ভার্সন। 

কুও এর অনুমানের সঙ্গে মিল পাওয়া যায় বিখ্যাত ডিসপ্লে এনালিস্ট রস ইয়ং-এর মন্তব্যেই। তিনি, ২০২৫ সালকেই অ্যাপলের ফোল্ডেবল ফোনের সম্ভাব্য মুক্তির বছর হিসেবে মন্তব্য করেন।

 

তথ্যসূত্র: ফোর্বস, সিনেট, ব্লুমবার্গ, বিজনেস ইনসাইডার, অ্যাপল ইনসাইডার